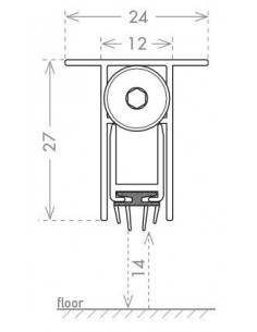
Isolation seal for doors and windows

Product added to wishlist
Product added to compare.

This shop uses cookies and other technologies so that we can improve your experience on our sites. By continuing to browse our site, you are consenting to the use of cookies.